Канализация в доме – неотъемлемый атрибут комфортного быта. Данная система одна из немногих, что может быть проложена без привлечения сантехников. Для прокладки канализационных труб есть все необходимое – легкие материалы, удобные раструбные соединения и широкий выбор разнокалиберных труб.

Содержание материала
Cоставление схемы канализации для прокладки труб
Проект – первое, что необходимо сделать, перед тем как начинать работу.
Проект заказывают в мастерской или выполняют самостоятельно. Так как строгих требований к местам прохождения труб нет, допускается произвольная прокладка по усмотрению хозяина. Тип и назначение зданий и помещений, в которых ведется работа, предусматривает свои особенности.

Проект канализационной сети полностью зависит от проекта дома и даже является его частью, если работу заказывали у профессионалов. Нужно заранее знать планировку помещений (о планировке комнат в частных домах рассказано в статье), их размеры, чтобы определить оптимальное расположение приборов, которые будут подключать к канализации.
Учитываются все приборы, работающие с водой: ванные, душевые кабинки, унитазы, биде, раковины, стиральные и посудомоечные машины.
После расстановки продумывают оптимальную прокладку трассы. При необходимости вносят коррективы и доработки.

Первые канализационные трубы закладывают еще при возведении фундамента. Если этого не сделать, потом придется вырезать в нем отверстие.
При разработке канализационного проекта важно учесть:
- Внутридомовая канализация может прокладываться как скрыто, так и открыто. Преимущество первого варианта – стены без видимых коммуникационных линий, однако в случае аварии или необходимости замены труб, придется разбивать отделку;
- Открытая прокладка не так красива, зато при необходимости к трубам всегда есть доступ. Чтобы не портить внешний вид ванной комнаты и прочих помещений, открыто проложенные трубы маскируют.
Их прячут в небольшие коробы частично или полностью. Короб делают из гипсокартона и похожих материалов. Популярны конструкции из пластика (ПВХ), так как они легко разбираются при необходимости и собираются в обратном порядке;

- Канализация – безнапорная система, хотя трубы должны по стандартам выдерживать давление в половину атмосферы без потери герметичности. Это необходимо на случай засоров. Когда сливаемая вода останавливается в стояке, ее столб растет все выше и сильнее давит на соединения, что приводит к протечкам;
- Строение канализации простое и недорогое. Трубы и фасонные части соединяют раструбами. Стенки труб имеют небольшую толщину, почему и стоят недорого. Герметичность достигается за счет резиновых уплотнителей, размещенных в специальных пазах раструбов.

- Стоки в безнапорной канализации стекают сами, без принудительного воздействия. Чтобы процесс происходил правильно и без образования засоров, необходимо соблюсти ряд условий, учитываемых также на стадии составления проекта.
- Трубопровод должен иметь постоянный уклон на всем протяжении, в направлении стояка. Чем меньше труба в диаметре, тем сильнее будет уклон. Все значения регламентированы. Для 50-й трубы на метр длины дается перепад в 3 см. Для 110-й – 2 см.
- К появлению засоров приводит как слишком маленький уклон, так и большой.
В первом случае жидкая часть стоков потихоньку двигается вниз, а твердая из-за недостаточной силы течения застревает.
Во втором случае жидкость двигается слишком быстро и твердые включения за ней не успевают, застревая в трубах и постепенно накапливаясь. При быстром сливе воды повышается шум в канализации, возможен срыв гидрозатворов по закону Бернулли.

- Все раструбные соединения должны быть направлены навстречу течению. Исключение составляют муфты и прочие соединительные детали.

- Размер сточной трубы должен увеличиваться или хотя бы не уменьшаться по мере подключения к ней новых сантехнических приборов. Чем меньше труба, тем ниже пропускная способность. При высоких нагрузках вода будет подниматься в сливе и может вытекать обратно. Также это ведет к образованию засоров.

- При проектировании канализации важно избегать участков, в которых трубы будет поворачивать на 90 градусов. Соединения рекомендуется скруглять по направлению течения. Для этого используется фасонина с поворотами на 15, 30, 45 и 67 градусов.

- Для прочистки забитой канализации необходимо предусмотреть ревизионные люки, которые ставят на стояках, и каждые 10 метров на участках прямого уличного трубопровода.

- Внутреннее пространство канализации должно сообщаться с атмосферным воздухом. При залповом сбросе воды, например, в унитазе, в трубопроводе создается область пониженного давления, или по-другому, вакуум.
Так как пустота тут же стремится заполниться веществом, может быть нарушена герметичность гидрозатворов, установленных на сифонах. В результате уровень воды в них падает, и канализационный воздух проникает в помещение.
Чтобы этого не происходило, в систему включают обратные клапаны, либо монтируют фановую трубу, выходящую на крышу, с соблюдением проектных норм. В результате, области пониженного давления заполняются воздухом с улицы или из помещения. Клапаны работают бесшумно и не пропускают воздух в обратном направлении.
Диаметр сточной части стояка должен быть равен диаметру вытяжной части. Выходящая на крышу фановая труба должна отстоять от ближайших окон на 4 метра.
- Всю сантехнику надо подключать через гидрозатвор, препятствующий проникновению канализационного воздуха в помещения.

Все части трубопровода должны идти прямо, не уменьшая угол наклона труб. Для этого делают разметку красящими нитями. Некоторые компании рекомендуют делать угол наклона до 15 см для труб диаметром 50 см и меньше. По описанным выше причинам поступать так не стоит.
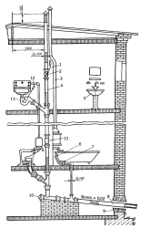
Вернуться к оглавлениюОсобенности прокладки канализации в частном доме
В зависимости от этажности строения и его планировки трубопровод в домах прокладывают открыто или скрыто, со стояком или без него.
Принципы разводки от стояка ничем не отличаются от квартирного. Более важная часть системы – горизонтальные участки, пролегающие под полами и в грунте.

Чтобы упростить задачу, можно изначально предусмотреть только ввод на нужной глубине, а потом, уже после завершения строительства коробки, выполнять внутреннюю разводку.
Рекомендуем прочесть: глубина прокладки канализации в частном доме.
В частных домах есть уникальная возможность прокладки труб любого диаметра под полами. Даже при наличии подвала их можно прокинуть по его потолку.
Так же трубы прокладываются внутри деревянных перекрытий. Так можно подвести канализацию ко всем приборам снизу, а значит, задается любой уровень для сливов.

Если в системе нет стояка, в одном из помещений нужно установить обратный клапан. В противном случае фановую трубу выводят на крышу. Смонтированный обратный клапан показан на следующем фото.

Разводка канализационных труб в земле до септика
По уклонам никакого отличия не будет, так как стоки текут с той же скоростью, что и внутри строения. При проектировании уличного участка сети, нужно обращать внимание на другие вещи.

Трубы укладывают на достаточной глубине для защиты от мороза. Некоторые ошибочно полагают, что чем глубже зарыты трубы, тем лучше.
При этом усложняется обслуживание и появляется риск разрушения труб от давления пучащегося грунта.
СНиП, в виде конкретного значения, глубину залегания не приводит, но есть рекомендация ориентироваться на климатические условия региона установки. Важна глубина промерзания грунта. Труба должна находиться на уровне выше этой отметки на 30-50 см.
Указанный разброс значений позволяет соблюдать нужный уклон на протяжении 10 метров, при условии, что рельеф имеет горизонтальный уровень. При этом до поверхности земли остается не менее 70 см.

При прокладке труб под бетоном или асфальтом, нужно увеличить это значение до 1 метра. На глубину промерзания также влияет тип грунта на участке.

При невозможности нормативного заглубления появляется риск замораживания канализации. Чтобы этого избежать, трубы утепляют снаружи. Для этого используют плотные полимерные теплоизоляторы. Это же относится и к бестраншейной прокладке труб канализации.

Чтобы избавить трубы от давления грунта, точнее, свести его к минимуму, вокруг них делается песчаная подушка. Песок – емкий амортизатор.
Вернуться к оглавлениюРазводка канализационных труб в квартире
Центральная часть квартирной канализации – стояк, выводимый в санузел, чаще в туалет. Разметка уклона труб начинается именно со стояка.
В квартире планировка обычно делается так, чтобы кухня соседствовала с санузлом. Это позволяет ограничиться небольшой схемой.

Трубы в квартире практически невозможно спрятать в стенах и тем более полу. Поднимать уровень перекрытия только ради этого ни экономически, ни функционально не оправдано. Пускают их открыто.
Такая планировка подойдет для однокомнатной квартиры, но для многокомнатного жилья можно использовать дополнительный стояк. Кухня в этом случае по расположению не привязана к санузлу (варианты планировки кухни смотри по ссылке).
При проектировании канализации для квартиры возможны проблемы при подключении ванной и душевого поддона. Их сливные отверстия находятся на низком уровне.

Некоторые мастера предлагают делать ревизию следующим образом. При подключении ванной использовать не переходное колено, а тройник, на прямой выход которого устанавливают заглушку. При засоре пробку вынимают, и трубу прочищают тросом.

Делать так не рекомендуется, так как большинство жильцов для прочистки засора в первую очередь пользуются вантузом. Если поступить таким образом,
Внутри канализационных труб создастся гидроудар, который может выдавить крышку. В результате грязная жидкость польется на пол, что неприятно и до затопления соседей недалеко.






